医疗器械创新网

logo

距离创新创业大赛报名结束
48
16
37

会员登录

用户登录 评委登录
一周内自动登录 建议在公共电脑上取消此选项
一周内自动登录 建议在公共电脑上取消此选项
依据工信部新规要求,运营商部署做出调整,现部分用户无法获取短信验证码(移动运营商为主)。如遇收不到短信验证码情况,请更换其他手机号(联通、电信)尝试
一周内自动登录 建议在公共电脑上取消此选项
手机验证码登录 还未账号?立即注册

会员注册

*依据工信部新规要求,运营商部署做出调整,现部分用户无法获取短信验证码(移动运营商为主)。如遇收不到短信验证码情况,请更换其他手机号(联通、电信)尝试
已有账号?
医疗器械创新网
医疗器械创新网

一IVD企业,宣告破产!

日期:2025-05-13
浏览量:2314

又一家IVD企业倒下了。



今年3月21日,江苏一诺生物科技有限公司向苏州市吴中区人民法院申请了破产清算。这家成立于2021年的年轻企业走到了尽头。


2d50125d2a932b82fefc55cad85c086.png
image.png


据企查查显示,这家企业分别于今年1月和5月陷入合同纠纷案,其中一起将于本月开庭。


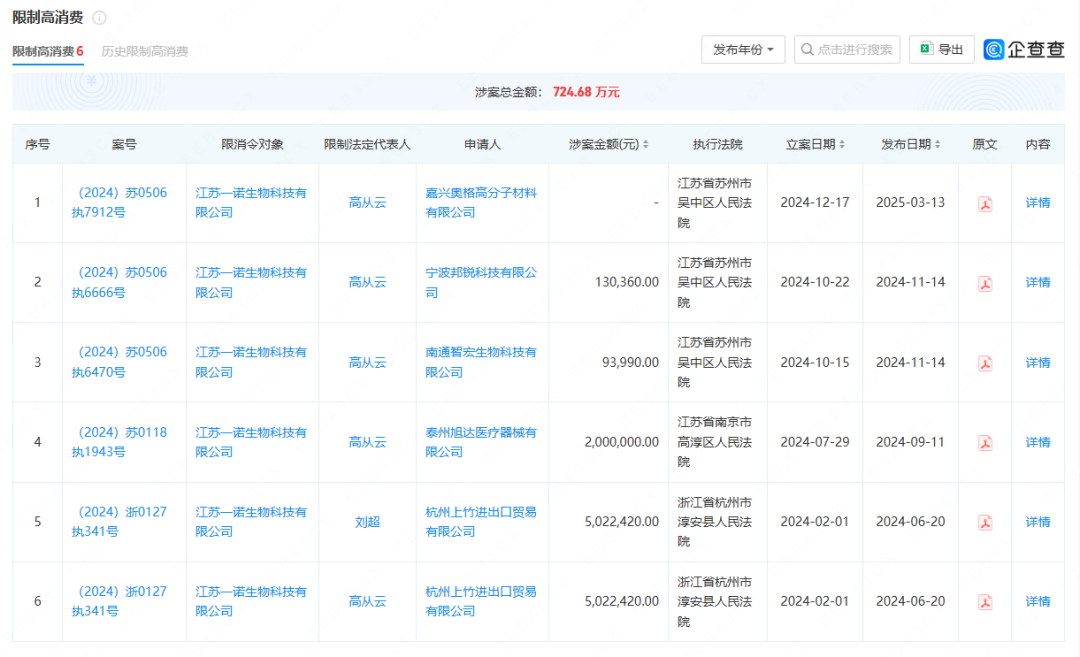
除此之外,这家企业还被列入过失信被执行人,涉案金额502.24万元;列入被执行人,涉案金额63.19万元;多起限制高消费,涉案金额724.68万元。

88afa1e94e8895f02b4ec0a50e5b0f5.png
fde7d6586b24584abe6e43bb5c2fb6d.png


公开信息显示,江苏一诺生物科技有限公司成立于2021年2月,注册资本1000万元,主营业务包括第一类医疗器械生产、第一类医疗器械销售、第二类医疗器械销售等。


image.png


小编通过检索发现,这家企业曾经生产过新冠检测相关产品。


image.png


该款新冠抗原自测产品运用胶体金法,采用鼻拭子的采样方法,能够在10分钟内给出检测结果,灵敏度高达97.35%,特异性高达100%。


4ffe4dc13d6fec441eb224308bd8b990.png


小编从该公司的公众号发现,除了新冠相关产品之外,该公司也有其他检测业务。


image.png
image.png


从江苏一诺生物科技有限公司的破产来看,新冠疫情期间依赖新冠检测业务的IVD企业,在疫情后脱离新冠检测业务时面临诸多挑战。江苏一诺生物虽有其他检测业务,但并未能维持公司的生存能力,由于经营不善等等问题,导致了公司走向破产。


对于这一类企业而言,疫情后应注重业务多元化,避免过度依赖单一产品或业务。与此同时,公司也应该提升研发能力,不断推出有竞争力的新产品;合理规划资金,确保资金链的稳定,从而提升企业自身的抗风险能力和医疗器械创新网能力,避免重蹈一诺生物的覆辙。







▲文章来源:企查查、Pure Global 普瑞纯证、IVD资讯、体外诊断网
▲转载请标注以上来源

声明:本文仅作信息传递之目的,仅供参考。本文不对投资及治疗构成任何建议,请谨慎甄别。如涉及医疗器械创新网内容、版权和其它问题,为保障双方权益,请与我们联系,我们将立即处理。如有平台转载本篇文章,须自行对该篇文章负责,医疗器械创新网网不对转载引起的二次传播负责。

往/期/回/顾







返回列表
医疗器械创新网网 医疗器械创新网网 医疗器械创新网网 医疗器械创新网网 医疗器械创新网网